The Model D200 Pressure Reducing Valve automatically reduces a higher inlet pressure to a steady lower downstream pressure, regardless of changing flow rate and/or varying inlet pressure.
This valve is an accurate regulator capable of holding downstream pressure to a Pre-determined limit. When downstream pressure exceeds the pressure setting, the valve close drip-tight.
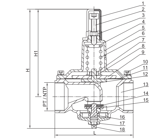
Dimension |
Inch | DN | L | H | H1 |
3/8" | 10 | 80 | 175 | 133 |
1/2" | 15 | 97 | 168 | 128 |
3/4" | 20 | 100 | 178 | 135 |
1" | 25 | 106 | 183 | 139 |
1/" | 32 | 112 | 188 | 143 |
11/" | 40 | 124 | 190 | 144 |
2" | 50 | 170 | 216 | 164 |
2/" | 65 | 212 | 315 | 245 |
3" | 80 | 256 | 350 | 275 |

NO. | Part Name | Material |
1 | Cap | ABS |
2 | Adjusting Screw | SUS304 |
3 | Jam Nut | A2 |
4 | Spring guide | SUS304 |
5 | Bonnet | CF8 |
6 | Spring | Cr-VA |
7 | Nut | A2 |
8 | Washer | A2 |
9 | Fixing Holder | SUS304 |
10 | Screw | A2 |
11 | Diaphragm | NBR+Nylon |
12 | Yoke | SUS304 |
13 | Body | CF8 |
14 | Disc | SUS304+EPDM |
15 | 0-Ring | NBR |
16 | Spindle | SUS304 |
17 | Cover | SUS304 |
18 | Plug | SUS304 |